Odpowiedz 
 
Ocena wątku:
  • 0 Głosów - 0 Średnio
  • 1
  • 2
  • 3
  • 4
  • 5
Bardzo klasyczny TRX Dziadek77
SP7CLB Offline
Krzysztof
***

Liczba postów: 188
Dołączył: 05-04-2010
Post: #1
Photo Bardzo klasyczny TRX Dziadek77
Jako rzekłem w postach na stronie:
http://sp-hm.pl/thread-4049.html
i nawiązując do moich lat szczenięcych, kiedy to montowałem w latach 60-tych
pierwsze swoje TX-y TRX-y, pragnę zamieścić tu szereg układów, składających się
na bardzo klasyczny, lecz miejscami nietypowy transceiver QRP, które w większości przeanalizowałem w LTSpice, jeżeli był to mój dizajn, a część przyjąłem z pewnych i znanych, ale zmodyfikowanych przeze mnie rozwiązań. Nie wiem czy uda mi się go zrealizować go w całości, jako że wzrok już nie ten i ręka niepewna. Zakres VCO syntezera dla f.pcz 9MHz to 10.75 - 39MHz musi być rozbity na dwa podzakrezy 10.75-19 i 19-39MHz . Nie zostało to uwzględnione w schemacie, jako że pośrednia miała być 34 lub 35MHz (jeszcze sie waham jaka w końcu). Skok syntezy co 250kHz, programowany w matrycy diodowej, lub z pamięci wybieranej enkoderem. Zworki w dzielniku 74AC193 użyte w celu uelastycznienia układu do modyfikacji, zmiany skoku syntezy co 0.5; 1; 2MHz.
Podwójne VXO zostało przeanalizowane w LTSpice, a jego idea ukazana na w/w stronie. Schemat w KICad.
Cały TRX będzie się mieścił w obudowie popularnego niegdyś RADMORA 3001, w jego górne części, na 4-ech panelikach. Na spodniej części zailacz sieciowy + akumulator, lub PA ok. 50Wwyj.


Załączone pliki Miniatury
İmage
(Ten post był ostatnio modyfikowany: 04-05-2021 5:39 przez SP7CLB.)
04-05-2021 5:39
Znajdź wszystkie posty użytkownika Odpowiedz cytując ten post
SP7CLB Offline
Krzysztof
***

Liczba postów: 188
Dołączył: 05-04-2010
Post: #2
RE: Bardzo klasyczny TRX Dziadek77
Tutaj przedstawiam układ wejścia i wyjścia projektowanego TRX-a. Całość została przeanalizowana w LTSpice.
Jest to rozwiązanie nietypowe, oparte o wzmacniacze na wtórnikach emiterowych w połączeniu z transformatorami
o wysokim współczynniku sprzężenia. Wzmocnienie w nich jest regulowane mostkami diod PIN. Końcówka PA również
jest zbudowana na wtórniku emiterowym na kompatybilnej parze BD139/BD140. Poprzedza ją driver na BD139 z korektorem.
Wzmacniacz nadajnika steruję się sygnałem ok. 0.5mW (0.15V na 50om) z wyjścia preselektora.
Strojenie częstotliwości odbywa się ręcznie, kondensatorem zmiennym 5-250pF na maksimum szumów. Szrokość pasma filtru pozwala na jednorazowe ustawienie w pracy na jednym pasmie amatorskim. Można tu też zamiast agregatu zmiennego zastosować diody pojemnościowe BB113. Tłumienie sygnału lustrzanego w połączeniu z nieukazanymi tu prostymi, 3-biegunowymi filtrami pi wyniesie 110-75dB dla 1.8-30MHz. Za/przed mieszaczem znajduje się eliminator sygnału 9MHz. Transformatory i cewki wykonam na U11, U31, F82, F1004, jako że uparłem się
robić z tego co mam w lamusie.


Załączone pliki Miniatury
İmage
(Ten post był ostatnio modyfikowany: 18-05-2021 18:37 przez SP7CLB.)
18-05-2021 18:37
Znajdź wszystkie posty użytkownika Odpowiedz cytując ten post
SP9LVZ Offline
Piotr
*****

Liczba postów: 814
Dołączył: 13-01-2015
Post: #3
RE: Bardzo klasyczny TRX Dziadek77
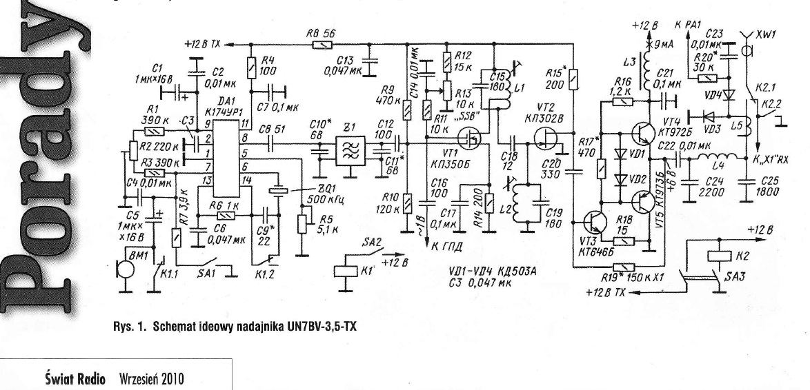
Stopień mocy na wtórniku emiterowym był proponowany przez UN7BV, też testowałem na BD139/BD140 (tą część stopnia mocy ze schematu) ale moc do 1,5W i tylko dolne pasma, jak dla mnie takie rozwiązanie nie sprawdziło się. Klasyczny wzmacniacz wykonany na 2SC1971 sterował mi się tym samym sygnałem do 10W.


Załączone pliki Miniatury
İmage
(Ten post był ostatnio modyfikowany: 19-05-2021 21:36 przez SP9LVZ.)
19-05-2021 21:36
Odwiedź stronę użytkownika Znajdź wszystkie posty użytkownika Odpowiedz cytując ten post
SP7CLB Offline
Krzysztof
***

Liczba postów: 188
Dołączył: 05-04-2010
Post: #4
RE: Bardzo klasyczny TRX Dziadek77
Teoretycznie, przy zasilaniu 12V układ UN7BV da nawet mniej niż 1.5W na dolnych pasmach, ale podwyższenie napięcia do 36V
i zastosowanie korektora w driverze daje mi już moc wyjściową 3.2-5.2W w całym pasmie KF. Powziąłem to rozwiązanie jako proste, stabilne i niemożliwe do przeciążenie. Zresztą zweryfikuje to dopiero montaż PA i uruchomienie. Układ UN7BV jest jeszcze bardziej prosty, spróbuję go zmodyfikować, by pracował do 30MHz.
(Ten post był ostatnio modyfikowany: 20-05-2021 6:47 przez SP7CLB.)
20-05-2021 6:43
Znajdź wszystkie posty użytkownika Odpowiedz cytując ten post
SP9LVZ Offline
Piotr
*****

Liczba postów: 814
Dołączył: 13-01-2015
Post: #5
RE: Bardzo klasyczny TRX Dziadek77
Podnoszenie napiecia powyżej 13,8 V wydaje sie rozwiązaniem mało praktycznym. Być może udało by się zastosować inne typy tranzystorów w miejsce BD139/140, nad czym już się nie zastanawialem.
20-05-2021 9:30
Odwiedź stronę użytkownika Znajdź wszystkie posty użytkownika Odpowiedz cytując ten post
SP7CLB Offline
Krzysztof
***

Liczba postów: 188
Dołączył: 05-04-2010
Post: #6
RE: Bardzo klasyczny TRX Dziadek77
A dlaczego nie, kiedy przetwornica 12/36V/2A, którą można włączać przy przechodzeniu na nadawanie, kosztuje 10 - 15zł.
(Ten post był ostatnio modyfikowany: 20-05-2021 16:16 przez SP7CLB.)
20-05-2021 16:14
Znajdź wszystkie posty użytkownika Odpowiedz cytując ten post
SQ5KVS Offline
Karol
*****

Liczba postów: 1,013
Dołączył: 26-09-2012
Post: #7
RE: Bardzo klasyczny TRX Dziadek77
Stopień końcowy w postaci wtórnika emiterowego był np. w transceiverze Bartek-0 i Traper-83 (Konstrukcje Krótkofalarskie dla początkujących).
Chyba bym wolał zrobić push-pull na dwóch BD-137(25), z moich prób czynionych dawno temu to chyba na 20m dało radę wytworzyć 2W (mogło być mało optymalnie).
Niestety te BD135/7/9 co są teraz to nie te same sprzed lat i pasmo mają gorsze, taki mi się przynajmniej zdaje.

Nie rozumiem - nie robię. Chyba że robię żeby zrozumieć.
20-05-2021 17:45
Znajdź wszystkie posty użytkownika Odpowiedz cytując ten post
SP7CLB Offline
Krzysztof
***

Liczba postów: 188
Dołączył: 05-04-2010
Post: #8
RE: Bardzo klasyczny TRX Dziadek77
Tak, niestety, trzeba kupować na Allegro te z lamusa BD139/140-16, puki ludziska jeszcze je mają. Moje analizy tego PA są oparte wyłącznie o symulacje w Spice. Myślę że to "pójdzie" do 30MHz, bo fa tych "prawdziwych" tranzystorów jest min. 150MHz. Pasmo przenoszenia w układzie WE jest wielokrotnie mniejsze niż w komplementarnych wtórnikach emiterowych i stąd problemy z uzyskaniem tych paru watów na 30MHz.
Inna rzecz że sprawność energetyczna całego układu W.M. będzie w całym pasmie KF 25-50%.
Uwaga: W podanym schemacie Spice elementy R3,C11 i R10,C5 wprowadzone tylko celem dokonania pomiaru prądu w symulacji. W realizacji PCB i montażu należy je pominąć.


Załączone pliki Miniatury
İmage
(Ten post był ostatnio modyfikowany: 22-05-2021 11:28 przez SP7CLB.)
20-05-2021 19:23
Znajdź wszystkie posty użytkownika Odpowiedz cytując ten post
SP5HBT Offline
Użytkownik
***

Liczba postów: 154
Dołączył: 04-12-2014
Post: #9
RE: Bardzo klasyczny TRX Dziadek77
Jest sporo "starych" zapomnianych tranzystorów z minionych lat nadających się do naszych celów i do tego niedrogich.
Ostatnio odkryłem BFT51F.A aby zamienić uszkodzony mechanicznie driver w wojskowej przenośnej radiostacji TRC350.
Tranzystor ma niezłe parametry, przy cenie 1$ za sztukę. No może mógł by mieć trochę większą moc ale do driver'ów i
QRP świetnie się nadaje.

73, Mietek SQ5PTQ dawniej sp5hbt.
20-05-2021 21:22
Znajdź wszystkie posty użytkownika Odpowiedz cytując ten post
SQ5KVS Offline
Karol
*****

Liczba postów: 1,013
Dołączył: 26-09-2012
Post: #10
RE: Bardzo klasyczny TRX Dziadek77
Znalazłem jaką szczątkową kartę katalogową (masz lepszą może?), na driwer czy Qrp fajny. Gdzie go można u nas dostać?

Nie rozumiem - nie robię. Chyba że robię żeby zrozumieć.
21-05-2021 9:38
Znajdź wszystkie posty użytkownika Odpowiedz cytując ten post
Odpowiedz 


Skocz do:


Użytkownicy przeglądający ten wątek: 1 gości