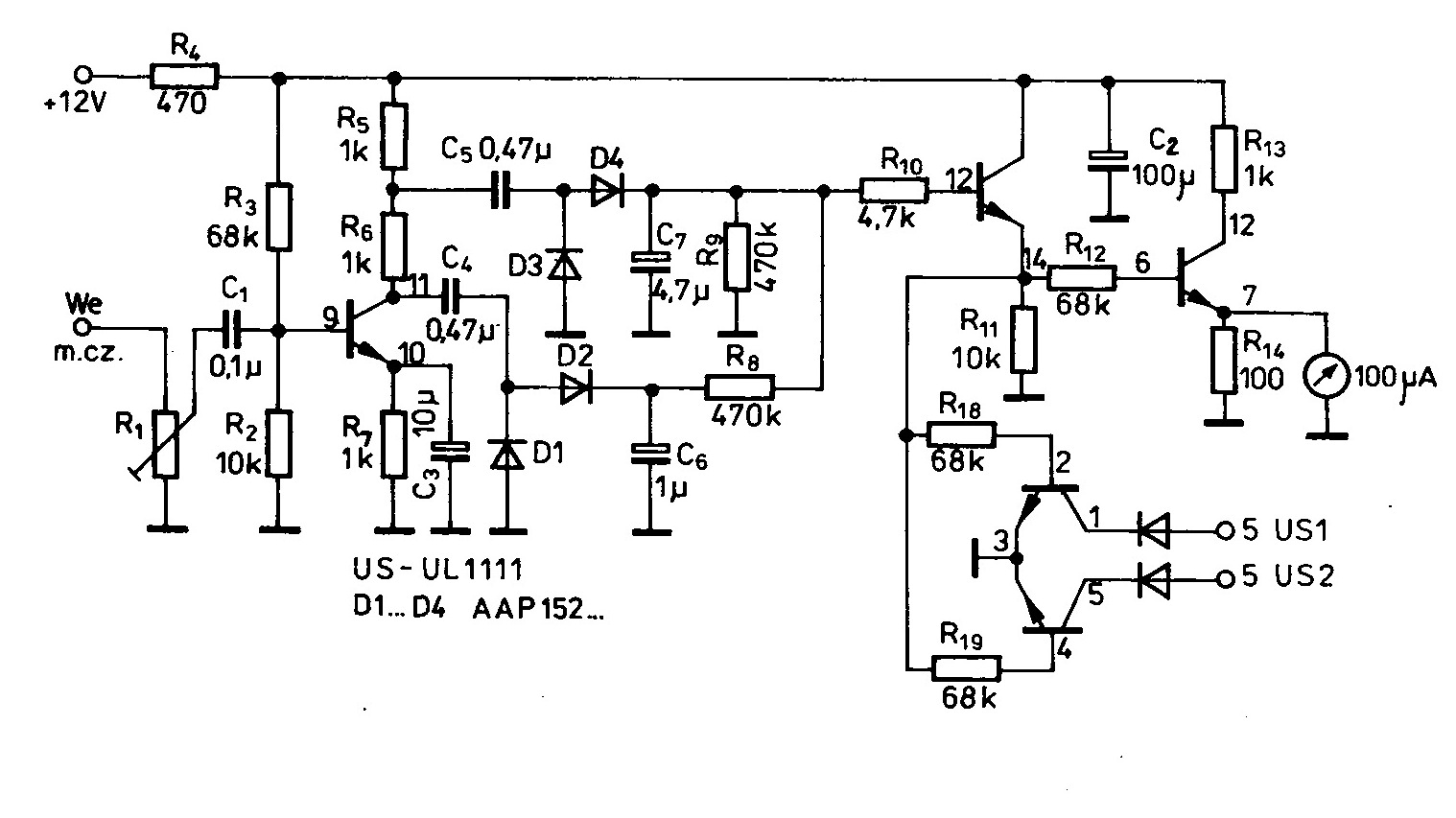
(15-02-2012 0:59)SP6FRE napisał(a): 1. Napisz jakie wzmocnienie ma pierwszy stopień (przez porównanie napięć na bazie i kolektorze pierwszego tranzystora). Użyj do pomiaru oscyloskopu
Wejście ARW przełączyłem znów jak było (czerwona kropka na schemacie).
Wzmocnienie mogę ocenić jedynie "na oko", jako że nie dysponuję źródłem stabilnego sygnału m.cz. widzę jedynie przebiegi odpowiadające głosowi operatora odbieranej stacji. Powiedziałbym, że ten stopień wzmacnia sygnał jakieś piętnaście-dwadzieścia razy.
Cytat:2. Czy napięcie na wejściu (potencjometr) jest takie samo jak na bazie pierwszego tranzystora - może masz skręcony ten potencjometr?
To oczywiście sprawdziłem na samym początku. Suwak potencjometru jest na źródle sygnału m.cz.
Cytat:3. Jeśli wzmocnienie jest małe to może winny jest kondensator w emiterze pierwszego tranzystora? Sprawdź biegunowość, dokonaj wymiany na inny egzemplarz.
Sprawdziłem, wymieniłem. Nic się nie zmieniło.
Cytat:4. Wzmocnienie pomierz po odłączeniu kondensatorów C4 i C5 a następnie po ich dołączeniu. Różnica nie powinna być istotna a jeśli jest to trzeba szukać w układzie detektorów.
Nie widzę istotnej różnicy. Amplituda sygnału na 11 nóżce UL1111 jest zbliżona.
Cytat:5. Ponownie sprawdź diody, może jakaś ma zwarcie lub rozwarcie, napięcie na R9-R10 powinno być dodatnie o wartości co najmniej równej amplitudzie napięcia zmiennego na kolektorze pierwszego tranzystora. Sprawdź to miejsce oscyloskopem. Jeśli zobaczysz, że napięcie w tym miejscu ma charakter zmienny (przyjmuje również wartości ujemne) to polaryzacja diod jest wadliwa lub diody są uszkodzone.
Diody wylutowałem i sprawdziłem multimetrem. Przewodzą tylko w jednym kierunku. Wlutowałem je ponownie, jeszcze raz upewniając się co do polaryzacji. Wszystko jest, jak było.
idąc jednak za twoją radą sprawdziłem wahania napięcia na w punkcie połączenia R9 i R10. Nie dostrzegam co prawda wartości ujemnych, ale emplituda jest znacznie mniejsza niż to miało miejsce na kolektorze pierwszego tranzystora. Plamka ledwie podskakuje w rytm odbieranego głosu. W przypadku w.cz. były zauważalnie większe wahania.
Co teraz? Wymienić C6 i C7?
Cytat:6. Czy C4 i C5 mają 0.47u i właściwą polaryzację? Mozna je zwiększyc do 1uF
Polaryzację? Przecież to MKT.

Tak - mają 470nF. Zwiększenie do 1uF może tutaj istotnie pomóc, czy to tylko taka luźna sugestia?
Cytat:7. Czy C6 i C7 mają właściwą pojemność i polaryzację?
Polaryzację - tak. Pojemności też, przynajmniej te napisane na obudowach. Zwykle staram się mierzyć każdy element przed wlutowaniem... Niemniej także spróbuję je wymienić - możliwości powoli się kończą...
Cytat:8. Jaki przeciętny poziom napięcia zmiennego masz w Bartku w miejscu pobierania sygnału ARW?. Pomiaru dokonaj oscyloskopem
Może to głupie pytanie, ale w jaki sposób dokładnie mierzyć tę wartość oscyloskopem? Mam go od niedawna - używam raczej do kontrolowania kształtu przebiegów i co najwyżej względnego oceniania amplitudy (szukanie maksymalnej wartości sygnału, porównywanie dwóch różnych wartości itp.)...
Cytat:9. Odłacz R10 od bazy i zobacz czy napięcie R9-R10 znacznie wzrośnie co by świadczyło o uszkodzeniu tranzystora 12-14
Nie widać zauważalnej różnicy. Zresztą jak pisałem - sprawdziłem już kilka sztuk UL1111.
Cytat:10. Czy masz dołączony kondensator C2 100uF?
Tak
Wymieniłem C6 i C7. Tak jak się spodziewałem - nie dało to żadnego wyniku.
Tak swoją drogą jakie powinno być
normalnie napięcie stałe w miejscu połączenia R9 i R10? Zwykle mam pomiędzy 0,5V-1V podczas odbioru jakiejś stacji. Czasem w peeku skoczy do tych 1,4V-1,6V i wówczas wskazówka mikroamperomierza podryguje w okolicach początku skali. Gdzie tam jej jednak do choćby częściowego wychylenia...
Napięcie m.cz. w miejscu z którego biorę sygnał na wejście ARW? Nie wiem, jeszcze nie mierzyłem. Jedno jest pewne - w zupełności wystarczy do wysterowania UL1497. Nie muszę wcale ustawiać potencjometru regulacji głośności w skrajne położenie, żeby mieć głośny odbiór (oczywiście jeśli stacja jest dobrze odbierana po stronie radiowej - mam w tej chwili mocno improwizowaną antenę, więc odbiór słabych sygnałów stacji odleglejszych i/lub pracujących z mniejszą mocą jest odpowiednio słabszy. To jednak nie ma znaczenia - wszystkie opisywanie próby przeprowadzałem na tych silnych, głośno i wyraźnie słyszalnych w głośniku.
Może ten układ faktycznie ma jakiś błąd konstrukcyjny?
Normalnym podłączeniu wejścia ARW do transceivera (ponownie: czerwona kropka na schemacie) oraz podłączeniu układu do nóżek 5 US1 i US2 również pojawia się ten dziwny objaw z "tykaniem". Wszystko jest w porządku gdy odbieram szum, jednak gdy przestrajam i trafię na jakąś silniejszą sytację całość się wzbudza i nie słyszę nic poza rytmicznym "tykaniem" z głośnika.
I jeszcze jedno: czy PR 50k na wejściu ARW jest odpowiedni? Wartość nie jest opisana na schemacie, wstawiłem właśnie taki.